
企微宝进销存系统1000版本界面交互友好,且易用上手,包含进销存、财务管理、系统配置、外勤管理等四个模块,满足中小微企业的基础进销存需求
本文档用于对企微宝V1000版本的使用说明,引导用户快速方便地使用系统,包括系统管理、进销存系统、财务管理等功能的操作说明。
申请试用
一.系统基础设置
(一)加入公司
1.创建公司
购买1000版本进行设置。
2.员工入职两种方式
(1)员工在APP端提交入职申请,管理员在电脑端【系统管理-员工部门-入职申请】进行审批。

(2)管理员在电脑端【系统管理-员工部门-员工管理】进行添加员工及角色管理;在【系统管理-员工部门-部门管理】分配员工至部门,设置部门可操作权限。具体操作详见企微社区,搜索关键字查看。

3.公司角色管理
明确各部门各职位的岗位权责,具体操作详见企微社区,搜索关键字查看。

(二)创建基础信息
1.商品设置
(1)在【系统管理-商品设置】进行商品信息维护,具体操作详见企微社区,搜索关键字查看。

2.客户设置
在【系统管理-客户设置】进行客户信息维护,具体操作详见企微社区,搜索关键字查看。

3.仓库设置
在【系统管理-其他项目-仓库设置】进行仓库信息维护,具体操作详见企微社区,搜索关键字查看。

4.资金账号设置
在【系统管理-其他项目-资金账号设置】进行管理多类型资金账号。

(三)初始资料导入
1.基础资料导入
在【系统管理-初始导入-基础资料导入】进行库存商品信息、客户信息的批量导入。

2.价格导入
在【系统管理-初始导入-价格导入】进行下载模板批量导入。

3.资产导入
在【系统管理-初始导入-资产导入】使用该功能快捷的录入商品库存和对应的成本,保存及完成库存以及成本的初始化。

二.进销存
(一)发票开单
1.出库型开单
(1)销售开单
在【进销存-发票开单-销售开票】进行开单,销售发票在列表可按条件筛选查看。

进入销售开单页面,选择对应客户、商品进行下单,暂存或保存并审批。

-
销售退货
在【进销存-发票开单-销售开票】进行开单,销售发票在列表可按条件筛选查看。

进入销售退货页面,选择对应客户、商品进行下单退货,暂存或保存并审批。

-
报损开单
在【进销存-发票开单-其他出库开票】进行开单,可在列表按条件筛选查看单据。

进入报损开单页面,选择对应客户、商品进行报损开单,暂存或保存并审批。

-
借出开单
在【进销存-发票开单-其他出库开票】进行开单,可在列表按条件筛选查看单据。

进入借出开单页面,选择对应客户、商品进行借出开单,暂存或保存并审批。

-
其他出库开单
在【进销存-发票开单-其他出库开票】进行开单,可在列表按条件筛选查看单据。

进入其他出库开单页面,选择对应客户、商品进行其他费用型(如:样品、赠品)出库开单,暂存或保存并审批。

2.入库型开单
在【进销存-发票开单-采购开票】进行开单,可在列表按条件筛选查看单据。

-
采购开单
进入采购开单页面,选择对应客户、商品进行采购,暂存或保存并审批。

-
采购赠品
进入采购开单时可选择采购类型,具体操作详见企微社区,搜索关键字查看。

-
采购退货
进入采购退货页面,选择对应客户、商品进行退货下单,暂存或保存并审批。

-
其它入库
进入其他入库页面,选择对应客户、商品进行下单,暂存或保存并审批。

3.移库开单
在【进销存-发票开单-移库开单】进行开单,具体操作详见企微社区,搜索关键字查看。

(二)收发货管理
进入【进销存-收发货】进行查看收发货明细。
(三)货款管理
1.付货款管理
在【进销存-货款管理-付货款管理】,针对采购等订单所发生的付款、核销、调账、付款记录等等功能的管理。

2.收货款管理
在【进销存-货款管理-收货款管理】,针对销售等订单所发生的收款、核销、调账、收款明细等等功能的管理。

收款之后进入【会计核算-报表管理-现金日报表】或【会计台账-资产台账-货币资金】查看对应账户流水。
(四)库存管理
1.库存查询
在【进销存-库存管理-库存查询】,可按照仓库、商品分类进行条件筛选,准确快速查找对应商品库存。

2.产品入库统计表
在【进销存-库存管理-产品入库统计表】,可按照入库类型进行条件筛选,查看一段时期内的商品入库总量和详情。

3.产品出库统计表
在【进销存-库存管理-产品出库统计表】,可按照出库类型进行条件筛选,查看一段时期内的商品出库总量和详情。

4.库存清算
在【进销存-库存管理-库存清算】,具体操作详见企微社区,搜索关键字查看。

5.库存盘点
在【进销存-库存管理-库存盘点】,具体操作详见企微社区,搜索关键字查看。

(五)报表管理
在【进销存-报表管理】中,可按条件进行筛选所需要查看的数据。具体操作详见企微社区,搜索关键字查看。
(六)发票模板
在【系统管理-打印配置-打印模板设置】,进行复制编辑自定义模板。
三.财务管理
(一)出纳管理
1.付款
(1)采购付款
具体操作查看【进销存-付货款管理】。
报销单据
具体操作查看【会计核算-费用报销】。
报销付款
具体操作查看【会计核算-费用报销】。
2.收款
(1)销售收款
具体操作查看【进销存-收货款管理】。
其他收入收款
具体操作查看【会计核算-其他收入】。
3.转存
资金内部对转,具体操作查看【会计核算-调账】。
4.日报
由系统智能运算数据,生成现金日报表。
在【出纳管理-日报-现金日报表】双击可查看对应账户流水。
(二)会计核算
1.基础设置
(1)费用科目设置
设置企业经营费用、营业外支出等费用科目。

(2)其它收入科目设置
设置营业外收入、其他业务收入等收入科目。

2.费用报销
在企业经营过程中需要支出一些日常的费用项目,这些费用项目例如:差旅费、通讯费、培训费、办公费等等,由员工办事或出差时所垫付的费用,在系统进行提交报销审批。具体操作详见企微社区,搜索关键字查看。

3.其他收入
(1)其他收入核算
在发生其他收入的情况下进行其它收款开单、其他收入挂账开单。其它收款单单据可在【会计核算-其他收入-其他收入核算】查询。

(2)其他收入挂账单
其他收入挂账单单据可在【会计核算-其他收入-其他收入挂账单】查询。

(3)其他收入统计
根据待其他收入的科目明细进行归类,双击可查看该科目的收款明细。

(4)其他应收(其他收入挂账)
其他收入挂账单开单后,进入【会计核算-其他收入-其他应收(其他收入挂账)】进行回款、调账、核销等操作。

4.调账
资金内部转存是将资金从一个账户转入到另一个账户。

5.报表管理
(1)利润表
反映企业一定会计期间生产经营成果的会计报表。双击可查看利润明细,数据支持打印。

(2)资产表
反映企业在一定日期内的财务状况报表。双击可查看资产明细,数据支持打印。

(三)会计台账
财务人员可在此功能查询资产台账、债权债务台账和费用台账。
注:所有单据可在【单据中心-单据列表】查看单据明细与操作详情。
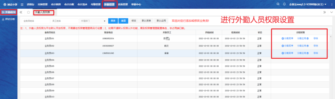
四.外勤管理
(一)外勤模块
设置外勤人员权限,具体操作详见企微社区,搜索关键字查看。
(二)拜访分析
在【外勤管理-拜访分析】进行查看业务员拜访明细、拜访销售小结汇总等等。

END

ZN-1
评论区